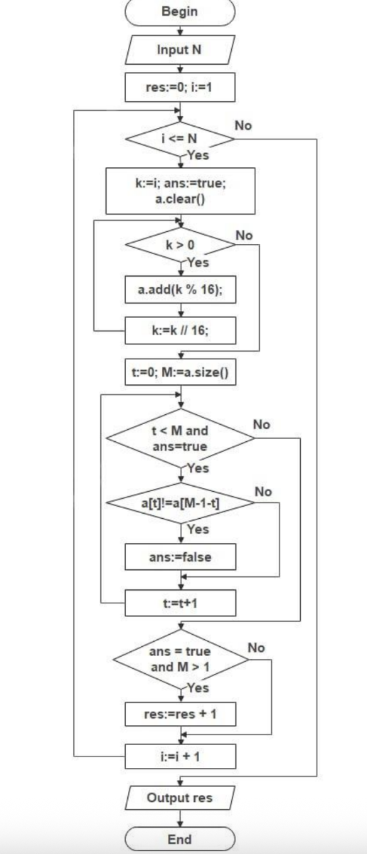
Дана блок-схема алгоритма:

Операция % обозначает взятие остатка от деления, операция // обозначает целочисленное деление. Операция a.clear() создаёт пустой список чисел, операция a.size() возвращает количество чисел в a, операция a.add(x) дописывает x в конец списка a. На вход было подано некоторое натуральное число N, после чего алгоритм вывел 278. Найдите минимальное и максимальное N, при которых это возможно.
В ответ запишите через пробел два числа – минимальное и максимальное значения